Прием звонков: Пн-Пт: с 8.00 до 21.00
Сб,Вс: с 9.00 до 18.00
(Бесплатный звонок по России)
Ваш Регион: Воронежская область
Ваш город: Поворино
Изменить город:

ГлавнаяЗаказчикиФизические лица → Строительный объект - Блок-контейнер 6м жилой для строительных объектов

Объект для Физические лица - Блок-контейнер 6м жилой для строительных объектов

Сроки строительства: декабрь 2015г.
Населенный пункт: Темрюк
Заказчик: Физические лица
Адрес доставки: Краснодарский край, Темрюкский район, ст. Тамань
Стоимость проекта (цена): 100 000 руб. (стоимость на декабрь 2015г.)

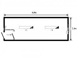
Блок - контейнер  БК  6,0*2,4*2,5

Заявка 374

Комплектация:

  •  металлический каркас: швеллер 100мм, усилен уголком 63мм, цвет синий;
  •  кровля плоская сварная, металл 0,8 мм, грунт-краска,
  •  утеплитель 100мм: стены, пол, потолок;
  •  ветро-гидроизоляция-пленка ПВХ 80мкр: стены, пол, потолок;
  •  внешняя отделка: оцинкованный  профлист С8 0,35мм.;
  •  входная дверь металлическая Россия «Эконом», утепленная с врезным замком -1шт.;
  •  окно ПВХ двухкамерное, поворотное 700*900мм. - 1шт.;
  •  сетка москитная - 1 шт.;
  • отделка внутренняя: стены, потолок-вагонка ПВХ( цвет белый);
  • пол: ДСП 16 мм., линолеум, плинтус ПВХ;
  • дно: металлическое 0,5мм. – В ПОДАРОК!
  • электрика в кабель-канале: 3-х жильный провод, светильник-3шт., выключатель-3шт., розетка двойная  - 2шт.,автомат на розетки (25 А), автомат на освещение (10 А);
  • перегородка ПВХ с дверью МДФ -1шт.;
  • закладные под  кондиционер -1 шт.;

Доставка Краснодарский край, станица Тамань.

Сроки изготовления: 7-10 рабочих дней.

Условия оплаты: Авансовый платеж 100%.

Фундамент (площадку) и разгрузку товара Покупатель  производит самостоятельно.


Объект для Физические лица - Блок-контейнер 6м жилой для строительных объектов
Объект для Физические лица - Блок-контейнер 6м жилой для строительных объектов
Объект для Физические лица - Блок-контейнер 6м жилой для строительных объектов
Объект для Физические лица - Блок-контейнер 6м жилой для строительных объектов
Объект для Физические лица - Блок-контейнер 6м жилой для строительных объектов
Объект для Физические лица - Блок-контейнер 6м жилой для строительных объектов
Объект для Физические лица - Блок-контейнер 6м жилой для строительных объектов
Объект для Физические лица - Блок-контейнер 6м жилой для строительных объектов
Объект для Физические лица - Блок-контейнер 6м жилой для строительных объектов
Объект для Физические лица - Блок-контейнер 6м жилой для строительных объектов
Объект для Физические лица - Блок-контейнер 6м жилой для строительных объектов
Объект для Физические лица - Блок-контейнер 6м жилой для строительных объектов
Объект для Физические лица - Блок-контейнер 6м жилой для строительных объектов
Объект для Физические лица - Блок-контейнер 6м жилой для строительных объектов
Объект для Физические лица - Блок-контейнер 6м жилой для строительных объектов
Объект для Физические лица - Блок-контейнер 6м жилой для строительных объектов
Объект для Физические лица - Блок-контейнер 6м жилой для строительных объектов
Объект для Физические лица - Блок-контейнер 6м жилой для строительных объектов
Объект для Физические лица - Блок-контейнер 6м жилой для строительных объектов
Объект для Физические лица - Блок-контейнер 6м жилой для строительных объектов
Объект для Физические лица - Блок-контейнер 6м жилой для строительных объектов

Для того, чтобы узнать стоимость проекта, заполните форму ниже:

Узнать стоимость этого проекта

ОШИБКА:
Заполните, пожалуйста, все поля корректно!
Спасибо!
Ваш запрос отправлен, через некоторое время с Вами свяжутся!
Представтесь(ФИО)*:

Телефон*:

Город доставки*:

E-mail*:


Нажимая на кнопку, вы даете согласие на обработку персональных данных
* - поле обязательно для заполнения.
Назад